随着越来越多的大众直播平台推出,主播圈也逐渐变得不再神秘。杨希月,20岁,四川某传媒学院在校生,YY主播,不错的自身条件加上化妆效果,每次直播,都能吸引两千多人在线观看。现在她依靠甜美外表和好身材,已是YY平台上金牌签约主播,每月收入10万左右。杨希月说两年前刚做主播的时候,以为自己条件还不错,会唱歌又能跳舞,就闯入这个圈子。不曾想这个外表光鲜的行当有着很多不为人知的辛酸。YY主播圈背后就是一个江湖,想做大主播必须要有师傅、有公会、有经纪而作为女主播,要引起“大哥”的注意,并能够拜一个当红主播为师,其实就是进入他的资源圈。秀曲线、比罩杯、会哄人是网络主播生存之道。杨希月觉得自己的小A罩满足不了网友的胃口,于是决心隆胸。今年1月参加了国际超模大赛胸模大赛与成都一家整形医院联合举行的选拔赛,
近日刘晓庆在微博上传了一组自己在纽约用餐的照片,照片中的刘晓庆身着豹纹低胸衣,十分性感迷人。
日前,《X战警:天启》曝光了最新的片场照,“灵蝶”性感现身,扮演者的紧身戏服和绝好身材令宅男心生脸红。《X战警:天启》中,灵蝶是电影系列新增角色,由奥立薇娅·玛恩饰演,片场照中,她身穿紫色紧身衣和红色腰带,露出长腿和美臀,十分傲人。这一装扮与漫画中的灵蝶造型非常接近,可以说是百分百还原,夺取了比超能力更多的聚光。灵蝶在漫画中原名为Elizabeth Betsy Braddock,除了拥有性感的外貌,还拥有强大的超能力,善于格斗,能利用心灵感应读取他人思想,通过精神攻击,在对方脑海中创造幻觉,甚至能用自身念力形成兵刃。据悉,《X战警:天启》故事发生在上一部《X战警:逆转未来》结束的十年后,年轻的X教授与魔形女将联手抗敌,抵御大反派天启与其麾下的四骑士—&mdas
今天周刊杂志给出了FuRyu的新JRPG游戏,《卡里古拉》的一批新截图。这部作品的剧情是由《女神异闻录1&2》编剧Tadashi Satomi编写的,所以整个游戏的风格也飞行类似《女神异闻录》,相信剧情模式也有异曲同工之妙。《卡里古拉》将于6月23日独占登陆PS Vita平台。最新截图:
各路绝色美女穿着性感,坐拥豪车拍摄写真图片,宛如性感女神的诱人面貌,加上性感完美的身材,在穿着性感比基尼后,展出充满了致命诱惑的魅力。白皙肌肤以及性感长腿,瞬间秒杀了男人们的心。
2016年03月07日,15/16CBA总决赛首轮前瞻,川辽即将上演总决赛首场对决,常规赛辽宁双杀四川,赛前辽篮宝贝拍摄助威写真大秀复古球衣,展露性感纤细高挑身姿盼主场首胜。
备受全球影迷关注的超级英雄电影《蝙蝠侠大战超人》将于今年3月25日全国上映。日本知名玩具品牌Square Enix旗下Play Arts 改系列,继之前推出蝙蝠侠、超人及重甲蝙蝠侠后,又要推出神奇女侠可动人偶。这次Play Arts改系列推出的神奇女侠,有别于男性角色呈现的夸张粗壮风格,这款神奇女侠相对纤细妩媚很多。超强可动性整体盔甲涂装呈现金属旧化风格。武器配件丰富实用,真言套索(Lasso of Truth)盾牌与剑一应俱全,更备有四款的替换手套件。官方零售价14800日元,高约25cm,预计发售日期2016年7月。《蝙蝠侠大战超人》由扎克·施奈德执导,本·阿弗莱克、亨利·卡维尔、盖尔·加朵、杰西·艾森伯格、艾米·亚当
每年的两会都会讨论一些有关国家建设、民众福祉的严肃议题,各家媒体也会拍出最强大的报道阵容加入到一轮轮的新闻大战当中。而在现场的媒体报道团队当中就不乏一些外貌年轻靓丽、举止谈吐文雅的女记者,她们构成了两会当中一道独特的风景线。而在“3·8”这个特殊的日子里,我们也祝所有依然奋斗在工作岗位的女性们,节日快乐!3月6日,财政部部长楼继伟新闻发布会现场,美女记者众多,他们在发布会上提问采访写稿子,同时也不忘自拍。3月4日,政协分组讨论,女记者与宋祖英自拍合影。3月3日,全国政协开幕。会场内,记者在自拍。3月4日,政协分组讨论,女记者成为一道靓丽的风景线。3月4日,政协分组讨论,一位女记者和宋祖英委员自拍。3月5日,在人民大会堂广场上自拍的女记者。3月5日,全国人大开幕。女记者在大会
2016年3月5日,四川省成都市某高档餐厅,一场富豪相亲活动正在进行,近300名单身美女参加相亲团成都海选。报名、填表、接受专家甄选……她们当中最终有12名女性获肯定,于6月份赴迪拜组团相亲旅游。在现场报名的海选美女中,既有小学教师、瑜伽教练,也有高校研究生、外企白领,甚至选美冠军。她们当中,年龄最小的19岁,最大的48岁,她们大多对远嫁异地表示接受。
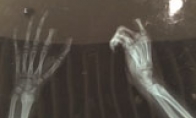
苏州的一位家长,见孩子一直玩手机游戏,心里着急便说了孩子两句。没想到,孩子竟直接取了菜刀将自己的手指切下来了。5日下午,经过3个多小时的手术,医 生才将其手指接上。据了解,这个孩子小朋(化名)今年才11岁,出事后,家长立即带着他和切下的手指来到医院。3月5日下午2点多,记者迅速赶至苏州大学 附属瑞华医院,当时,小朋已经进手术室快2小时了。X光片显示孩子食指两个指节被切断小朋的父亲邹某(化名)告诉记者,5日早上9点多,小朋早早便起床了,但是起床后就一直抱着手机玩游戏,其他什么事情都不做。小朋在玩游戏时,他6岁的弟弟也一直盯着小朋手里的手机。一直在厨房忙碌的小朋母亲见状也是直摇头,便说:“小朋,你有空就教教你弟弟功课,不要一直玩游戏。”听了这话,小朋便嚷起来:“我不教,去年教
近日,维秘天使Lily Aldridge登上三月号《Lui》的封面,以几乎全裸的姿态示人,尽显性感曲线。
今天,小编给大家介绍一位真正的“白富美”,就是下图中这位年仅19岁的美女Alexandra Andresen,年纪轻轻的她就已和姐姐共同登上福布斯富豪榜,并列第1476位,成为了世界上最年轻的亿万富翁。妹子致富的诀窍是什么呢~有一个富豪爸爸!妹子从她老爸Johan F. Andresen那里继承12亿美元(约78.6亿元)的财富...不过姑娘并不是个“富二代”,而是“富六代”!Andresen家族是靠烟草发家的,妹子爸爸的爸爸的爸爸的爸爸的爸爸是挪威最大烟草生产公司的创办者。后来,这个家族卖掉了烟草产业,转而从事房地产、投资等业务。2007年,妹子的爸爸把自己在Ferd Holdings公司的股份的80%转给她和她姐姐,如今,姐妹俩都
3月4日,张雨绮穿性感低胸长裙出席品牌活动。张雨绮性感亮相,傲人上围一览无余,她佩戴三十克拉钻石项链显得贵气逼人。当天,穿着一袭红色抹胸裙的张雨绮大秀胸前风光,闪亮的钻石项链也比不上她的身材吸睛。随后,张雨绮还在微博中晒出自拍照,调侃称“脖子有点酸啊”,意在说明项链太沉、超奢华。网友纷纷调侃“胸给沉的”、“美了美了美了,醉了醉了醉了”、“那么美,追你的人得从这儿排到法国”。
韩国KBS2电视台《肌肉女王计划》的节目现场照日前在网上曝光,Stephanie等女艺人在节目中展示健美身材吸引了人们的目光。
反重力美女成网红22岁的Sara Ticha因其不同寻常的瑜伽方式在Instagram上迅速走红。这个笑容甜美的斯洛文尼亚女孩儿有着不可思议的身体柔韧性,而更有趣的是在她分享的照片里,瑜伽动作总出现在令人意想不到的地方。反重力美女成网红现居越南的Sara对于瑜伽有着和旁人不一样的理解,她相信在任何场地都能练习瑜伽动作,并用“无垫瑜伽”来形容这一理念。反重力美女成网红在Instagram上,已有将近6000粉丝为她独特的瑜伽方式所吸引。反重力美女成网红她总是随身携带着三脚架,一旦发现有意思的场地,就能立刻用照片记录下来。无论是公园长椅还是石板小巷,寻常街景中出现的“反重力”瑜伽动作总是显得怪诞有趣。反重力美女成网红Sara表示,她从18岁开始练习瑜伽,但慢慢觉得这
20岁的Katharina Andresen是世界上最年轻的亿万富翁之一,她和妹妹继承了家族集团12亿美元的股份。Katharina没有浪费尽情享受梦想生活的时间,并毫不掩饰她对奢华生活的爱。Katharina的Instagram使得大家能一窥世界上最年轻亿万富翁的生活方式。
3月4日晚上19点,37游戏将迎来性感女神于芷晴直播《战国之怒》全新资料片江山美人。作为《战国之怒》玩家投票当选的首席真人侍宠,于芷晴将于3月4日新资料片正式开启当天,做客游戏直播间,上演游戏直播的第一次。天使面孔魔鬼身材的于芷晴,在游戏直播中变现如何?和幸运玩家又有怎么样的互动呢?19点正式开启直播,于芷晴女神性感降临,《战国之怒》游戏官网即将呈现。【与女神共同游戏 美人一服】 《战国之怒》自上线以来便受到广泛关注,为回馈玩家的喜爱和支持,游戏相关人员极力挖掘脑洞,精心策划了各种各样的活动球探足球比分大家,此次由于芷晴担任主播将在美人一服与大家共同游戏,不仅实现了网友们的心愿,让大家能和女神近距离交流,更开创了另一种新的游戏模式,使玩家和于芷晴在游戏里沟通。【性感侍宠女神于芷晴胜出 人气指数稳居第一】&nb
反家庭暴力法从昨日就正式实施啦,真是个“喜大普奔”的好消息。从传统认知上讲,家暴女方往往属于弱势一方,但是也不排除有很强势的女生,只是不常见而已,但游戏中暴力女可不少,只是看你敢不敢娶啦~《球探足球比分》 蔚其实球探足球比分里面有很多暴力角色,瑞文、希瓦娜、豹女哪一个拎出来都可以大杀四方。但是与蔚相比,却又弱了几分。这可不是指英雄技能,而是蔚从小生活在皮尔特沃夫一个十分混乱的郊区,她很小的时候就学会了抢劫诈骗,而攻击的手段就是两只拳头,对,就是这么简单粗暴,这种环境的影响,使得蔚骨子里自然而然有一股他人比不上的狠劲儿。小心吵架她给你两拳头~《街头霸王》系列 春丽春丽是全世界格斗游戏中第一个可以操作游玩的女性人物。她为了报杀父之仇,毅然加入刑警这个行业。春丽除了精通中国武术外,还以第六位的成绩在国
今天小编不带大家继续进行“韩国女主播朝圣之旅”了,看多了韩国女主播身体不少有点营养不良,所以换换口味,一起来看看台湾的妹子。正妹睿咩Rimmy是台湾比较有名的游戏ShowGirl与平面模特,身材高挑的她参加过许多游戏展,并且还在台湾电玩展中担任过索尼展台的ShowGirl,随着直播事业的发展,最近妹子也当起了女主播,喜欢拍照的她经常在Facebook上分享自己的辣照,引发网友热议:好性感的妹子,可以和你做朋友吗?这事业线也太深了吧?哪里的电玩展,我也要去...最后小编献上妹子晒出的照片,和大家一起欣赏吧!
日前,游戏商Nude Maker与发行商AGM PLAYISM宣布《钟楼》精神续作《夜泣(Night Cry)》预定春季通过Steam平台登陆PC,还公布更多游戏情报。游戏由《寂静岭》系列怪物设计师伊藤正博打造怪物,场景设计,包括剪刀怪物,设定为一艘豪华客轮,航行期间发生一系列诡异的谋杀事件,包括船员,随后因船体损坏只能漂流,船上乘客面临危机,玩家扮演一位乘客解决神秘谋杀案,拯救其他乘客。《夜泣》PC版将提升画面品质。最低配置:操作系统: Windows 7 / 8 / 10处理器: Intel Dual-Core 2.4 GHz or AMD Dual-Core Athlon 2.5 GHz内存: 2 GB显卡: NVIDIA GeForce 8800GT or AMD Radeon HD 3830 or
京ICP备14006952号-1 京B2-20201630 京网文(2019)3652-335号 沪公网安备 31011202006753号违法和不良信息举报/未成年人举报:legal@3dmgame.com
CopyRight?2003-2018 违法和不良信息举报(021-54473036) All Right Reserved
